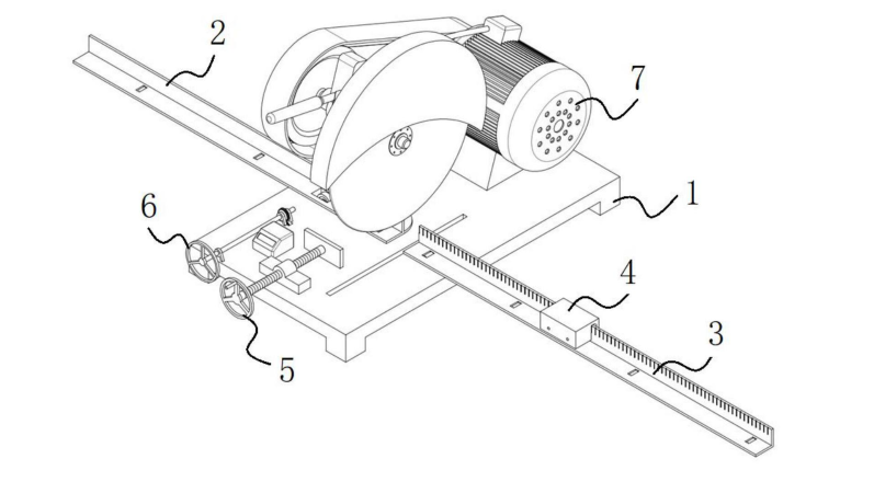
近日,第七屆工程建設行業科技創新大會在江蘇常州召開,公司研發的“一種砂輪切割機輔助下料裝置”(專利號:ZL202322921355.1)在工程建設行業高推廣價值專利大賽中斬獲三等專利,這是公司首次在該賽事中獲獎。

該專利由安裝分公司、第二直管項目部多位技術人員聯合研發,針對砂輪切割機輔助下料方面實現了創新突破。該項砂輪切割機輔助下料裝置具備操作簡單、使用方便、可重復使用的特點,能夠實現工具化、定型化和標準化施工。在實際應用場景中,該裝置不僅能保證砂輪切割機切割的材料尺寸符合要求,還能有效提高工作效率、節省作業時間。

此項技術的成功研發,有望為工程建設領域的相關作業提供更高效、更便捷的解決方案,充分彰顯了公司在科技創新領域持續探索所取得的新突破與新進展。
李宗福 報道
滇公網安備53010202000846